メニュー
Home
知財一覧
特許権・実用新案権
デザイン・意匠権
商標権
著作権
知財を買いたい方
知財を売りたい方
料金
契約テンプレート
よくある質問
0
商談ボックス
商談ボックスは空です
商談ボックスを見る
商談手続き
アカウント
商談
比較リスト
検討リスト
ログイン
会員登録
Eメール
パスワード
パスワードを忘れました
新規会員登録
ログイン
ログイン情報を記憶
特許権・実用新案権
ホーム
/
特許権・実用新案権
ソート順:
from A to Z
Newest Items First
from Z to A
Price: Low to High
Price: High to Low
Popular First
12
24 件ずつ表示
48 件ずつ表示
96 件ずつ表示
売買
2ストロークエンジン
登録番号:
特許第6359734
従来の2ストロークエンジンでは燃費が悪く、排ガスによる環境への影響が大きかったという難点を解決し、良燃費かつ排ガスがクリーンなエンジンを作成するための技術です。
3,000,000
円
出品中
商談を申し込む
ライセンス
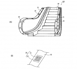
ICタグを用いたエスカレータでの情報提供システム
登録番号:
特許6191288
エスカレーター等の乗車コンベアの利用者に対して、利用者に適した情報を提供するシステムです。利用者がいるエスカレーターの位置に応じて、利用者の携帯端末に適した情報を送ることを可能とします。具体的には、利用者の携帯端末で手すりベルトに設けられたICタグを読み取ることで、利用者の乗車コンベアにおける位置を検出し、位置に応じた情報を利用者の携帯端末へ送信します。 例えば、利用者が向かうフロアに応じた情報や、エスカレータの残りの距離に応じた情報を送信することが可能です。
価格については「出品者にお問い合わせ」をクリックしてご相談ください。
出品中
ライセンス
RFIDによる電動工具の動作制御
登録番号:
特許5915398
電動工具管理を効率化し、安全に使用できるようにするための技術です。 バッテリパックと本体との両方が、携帯端末によって認証できた場合にのみ動作するように電子工具を制御します。 これによって電子工具の盗難を防ぎ、かつ粗悪バッテリによる事故を防止します。
価格については「出品者にお問い合わせ」をクリックしてご相談ください。
出品中
γ-オリザノール含有機能性食品と糖尿病改善医薬
登録番号:
特許第6098973
【概要】 本発明は、膵臓に局所投与することで、膵島細胞における小胞体ストレスの亢進及びグルカゴンの分泌を抑制し、膵β細胞の新生または再生を促し、グルコース応答性のインスリンの分泌を促進させる結果、食後血糖値の上昇を抑制し、糖尿病治療に効果がある、γ-オリザノールを有効成分とする、ヒトまたは動物用の医薬である。 本発明によれば、中枢神経を介さずに、膵臓に直接的に作用してインスリン分泌を促進し、血糖値を下げることから、ヒトまたは動物の膵臓に対して直接的な投与または治療が可能になる。
価格については「出品者にお問い合わせ」をクリックしてご相談ください。
出品中
売買
ライセンス
「移動体衝突防止装置及び該装置を搭載した移動体」、「画像処理装置及び方法、ならびに移動体衝突防止装置」
完全自動運転の自動車の運行には多様な安全方法の搭載が重要です。 自動車同士が常に無線でそれぞれの状況を情報通信して互いの状態を把握していれば、まさに{敵を知り、己を愛れば百戦にて危うからず}の格言通り互いの接触事故の防止になります。 カメラからの情報収集の方法も 2 眼カメラ式に無い、単眼カメラの利点もあり、完全自動運転に多様な情報収集機器の搭載が重要になる。
価格については「出品者にお問い合わせ」をクリックしてご相談ください。
出品中
売買
「運行管理装置、運行管理システム、及び運行管理方法」 「飛行装置、測定システム及び測定方法」
登録番号:
特許第6530475号、特許第6759435号、特許第6810192号
気象状態または海象状態を測定するための飛行装置、測定システム及び測定方法に関する技術と運行管理装置、運行管理システム及び運行管理方法に関する技術。ドローン等の無人飛行体が大容量の電池を搭載することなく、長時間にわたり作業をすることのできるシステムです。
価格については「出品者にお問い合わせ」をクリックしてご相談ください。
出品中
ライセンス
かんたん会議/商談メモ作成・解析システム
Webセミナーや会議や授業のシーンで、各参加者が共有画面キャプチャで個人メモをかんたん生成、主催者の参加者の興味・関心情報分析をサポートするシステムです。
価格については「出品者にお問い合わせ」をクリックしてご相談ください。
出品中
ライセンス
がん細胞特異的遺伝子発現法を用いた血管新生阻害剤
登録番号:
特許第4843767
目的 特定のプロモーターと特定の遺伝子を組み込んだタンパク質からなる血管新生阻害薬を提供する。 技術概要...
価格については「出品者にお問い合わせ」をクリックしてご相談ください。
出品中
ライセンス
てんかん波を伴う疾患治療剤
登録番号:
特許第5791604
価格については「出品者にお問い合わせ」をクリックしてご相談ください。
出品中
ライセンス
ひずみ測定方法及びひずみ測定装置
登録番号:
特許第4910135
価格については「出品者にお問い合わせ」をクリックしてご相談ください。
出品中
ライセンス
アクチュエータ、その制御方法及びアクチュエータを備えた内視鏡
登録番号:
特許第5777157
価格については「出品者にお問い合わせ」をクリックしてご相談ください。
出品中
ライセンス
アバターの行動解析システム
登録番号:
特許5625882
仮想空間でのアバターの行動分析を行う技術です。アバターが行動した場所の情報や期間に基づいてアバターの行動を分析することで、例えば、仮想空間を用いたビジネスでのマーケティング等に利用することができます。
価格については「出品者にお問い合わせ」をクリックしてご相談ください。
出品中
別の 12 案件を表示
前へ
1
2
3
4
5
6
7
8
次へ
2 - 16
特許権・実用新案権
デザイン・意匠権
商標権
著作権
Product filters
希望取引
ライセンス
売買
相談可
検索条件に一致するアイテムがありません
特許権ジャンル
ライフサイエンス
電気・電子
情報通信・IT・ソフトウェア
機械・加工
医療・ヘルスケア
環境・エネルギー
輸送・自動車
土木・建築・不動産
化学・バイオ・薬品・食品
金属・材料
生活・文化・娯楽
その他
更に表示 (2)
閉じる
検索条件に一致するアイテムがありません
リセット
Bestsellers
1
運転支援システムおよび運転支援プログラム
価格については「出品者にお問い合わせ」をクリックしてご相談ください。
2
電子機器
価格については「出品者にお問い合わせ」をクリックしてご相談ください。
3
自転車用表示装置及びプログラム
価格については「出品者にお問い合わせ」をクリックしてご相談ください。
4
電子機器及びサイクルコンピュータ
価格については「出品者にお問い合わせ」をクリックしてご相談ください。
5
運転支援システム、情報生成方法、運転支援プログラム、及び生成プログラム
価格については「出品者にお問い合わせ」をクリックしてご相談ください。