内燃機関

ライセンス

特許第6434863
価格については「出品者にお問い合わせ」をクリックしてご相談ください。
出品中

案件情報

特許権
ジャンル:
環境・エネルギー
登録番号:
特許第6434863
共通項目
希望取引:
  • ライセンス
権利者:
津田訓範

説明

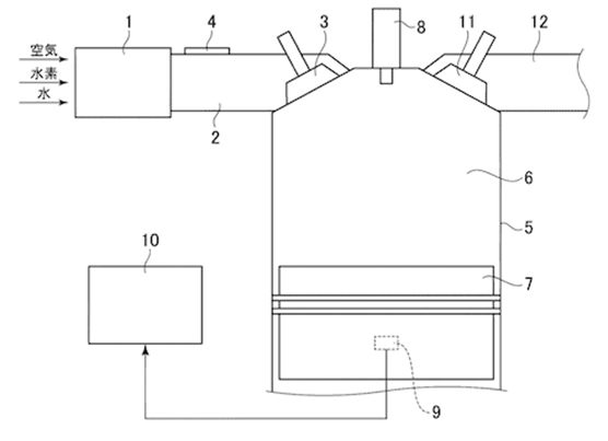
従来よりも少ない量の水素ガスでの駆動が可能で、NoXの生成を低減させるための大量の水を必要とせず、またエンジン自体破損させるような大爆発を起こす危険性のない内燃機関及び内燃機関の燃焼室への燃料供給方法です。


詳しくは、ページ下部の「技術概要説明資料」をダウンロードのうえ、ご確認ください。

<ライセンスもしくは売却できた場合>

1. 開発製造協力可能

2. 営業協力可能

3. 案件によっては基本設計書あり

4. 案件によっては測定データあり

権利の詳細

特許公報 (内燃機関.pdf, 51 Kb) [ダウンロード]

技術概要説明資料 (内燃機関 概要資料2022.pdf, 140 Kb) [ダウンロード]

こちらにも興味があるかもしれません
  • ベストセラー
  • 人気の案件
  • Recently Viewed
車両用警報制御システム
特許第4642688
価格については「出品者にお問い合わせ」をクリックしてご相談ください。
価格については「出品者にお問い合わせ」をクリックしてご相談ください。
緑化屋根工法 メタルグリーンルーフ
特許番号6723408号
価格については「出品者にお問い合わせ」をクリックしてご相談ください。
価格については「出品者にお問い合わせ」をクリックしてご相談ください。
荷役用パレット
日本 特許第6150152号  中国 専利号 ZL 2017 1 0608852.2  香港 専利編号 HK1244765  
価格については「出品者にお問い合わせ」をクリックしてご相談ください。