脈波測定装置

売買

ライセンス

特許第5816913
価格については「出品者にお問い合わせ」をクリックしてご相談ください。
出品中

案件情報

特許権
ジャンル:
化学・バイオ・薬品・食品
共通項目
希望取引:
  • ライセンス
  • 売買
  • 相談可
権利者:
株式会社ユピテル

説明

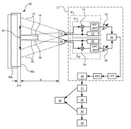
目的

測定の対象物である生体に対して非接触かつ高い精度で脈波測定を行うことができる脈波測定装置を提供する。

技術概要

対象物の距離の変位の測定の結果を得るように構成される変位測定部を備え、変位測定部が、距離の変位に含まれる呼吸、体動、当該脈波測定装置の移動の少なくともいずれか1つに基づく変位を除去する脈波外変位除去部を備える脈波測定装置。

こちらにも興味があるかもしれません
  • ベストセラー
  • 人気の案件
  • Recently Viewed
車両用警報制御システム
特許第4642688
価格については「出品者にお問い合わせ」をクリックしてご相談ください。
価格については「出品者にお問い合わせ」をクリックしてご相談ください。
緑化屋根工法 メタルグリーンルーフ
特許番号6723408号
価格については「出品者にお問い合わせ」をクリックしてご相談ください。
価格については「出品者にお問い合わせ」をクリックしてご相談ください。
荷役用パレット
日本 特許第6150152号  中国 専利号 ZL 2017 1 0608852.2  香港 専利編号 HK1244765  
価格については「出品者にお問い合わせ」をクリックしてご相談ください。