ルームミラー装置

ライセンス

売買

特許第5352772
価格については「出品者にお問い合わせ」をクリックしてご相談ください。
出品中

案件情報

特許権
ジャンル:
輸送・自動車
共通項目
希望取引:
  • ライセンス
  • 売買
  • 相談可
権利者:
株式会社ユピテル

説明

目的

自動車を運転・乗車する上で有用な情報を、運転者は視線移動が少なく安全に情報を確認でき、且つ、全ての乗車員(運転者含む)が、情報を正確に確認できる表示機能付きのルームミラー装置を提供する。

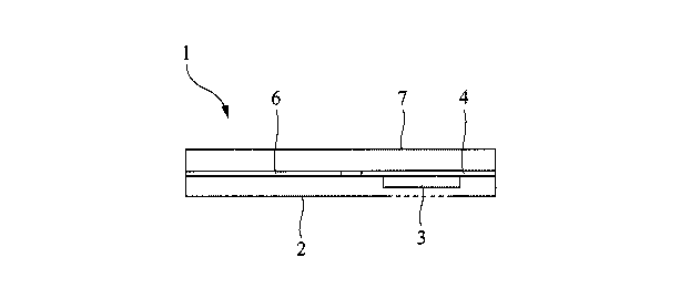
技術概要

ケース本体と、そのケース本体の前面側に取り付けられたミラーと、前記ケース本体内に収納された表示パネルと、を備え、前記ミラーは凸形状の曲面鏡であり、前記曲面鏡の一部の領域に前記表示パネルの表示内容を視認可能とする窓部を設け、前記表示パネルは、前記窓部の裏面側に配置し、前記ケース本体の長手方向の中央側の前記曲面鏡と前記表示パネルの隙間が、前記ミラーが平面鏡とした場合に配置する前記表示パネルと前記ケース本体の長手方向の中央側の前記曲面鏡との隙間よりも狭くなるようにしたことを特徴とするルームミラー装置。

こちらにも興味があるかもしれません
  • ベストセラー
  • 人気の案件
  • Recently Viewed
車両用警報制御システム
特許第4642688
価格については「出品者にお問い合わせ」をクリックしてご相談ください。
価格については「出品者にお問い合わせ」をクリックしてご相談ください。
緑化屋根工法 メタルグリーンルーフ
特許番号6723408号
価格については「出品者にお問い合わせ」をクリックしてご相談ください。
価格については「出品者にお問い合わせ」をクリックしてご相談ください。
荷役用パレット
日本 特許第6150152号  中国 専利号 ZL 2017 1 0608852.2  香港 専利編号 HK1244765  
価格については「出品者にお問い合わせ」をクリックしてご相談ください。