ルームミラー装着型車載機器

売買

ライセンス

特許第5229560
価格については「出品者にお問い合わせ」をクリックしてご相談ください。
出品中

案件情報

特許権
ジャンル:
輸送・自動車
共通項目
希望取引:
  • ライセンス
  • 売買
  • 相談可
権利者:
株式会社ユピテル

説明

目的

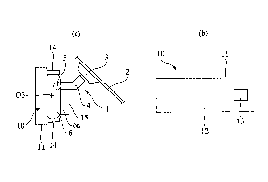
標準のルームミラーに車載機器を取り付けた場合でも、振動が起こりにくくする車載機器を提供する。

技術概要

車両の標準装備のルームミラーに取り付ける車載機器であって、前記ルームミラーは、前記車両に接続されるアームの先端にミラー部が連結されたものであり、前記車載機器の本体を前記ミラー部の前面側に装着し、前記本体とは別体のバランサを備え、前記別体のバランサを、前記ミラー部の背面側の外面に装着して、前記車載機器を取り付けた状態のルームミラーの重心位置を前記アームの先端の前記ミラー部の連結部位側に近づけ、前記車両の振動に伴う前記車載機器の振動を抑制するようにしたことを特徴とする車載機器。

こちらにも興味があるかもしれません
  • ベストセラー
  • 人気の案件
  • Recently Viewed
車両用警報制御システム
特許第4642688
価格については「出品者にお問い合わせ」をクリックしてご相談ください。
価格については「出品者にお問い合わせ」をクリックしてご相談ください。
緑化屋根工法 メタルグリーンルーフ
特許番号6723408号
価格については「出品者にお問い合わせ」をクリックしてご相談ください。
価格については「出品者にお問い合わせ」をクリックしてご相談ください。
荷役用パレット
日本 特許第6150152号  中国 専利号 ZL 2017 1 0608852.2  香港 専利編号 HK1244765  
価格については「出品者にお問い合わせ」をクリックしてご相談ください。