光電変換素子及びその製造方法

ライセンス

特許第5360838
価格については「出品者にお問い合わせ」をクリックしてご相談ください。
出品中

案件情報

特許権
ジャンル:
電気・電子
登録番号:
特許第5360838
共通項目
希望取引:
  • ライセンス
  • 相談可
権利者:
国立大学法人岡山大学

説明

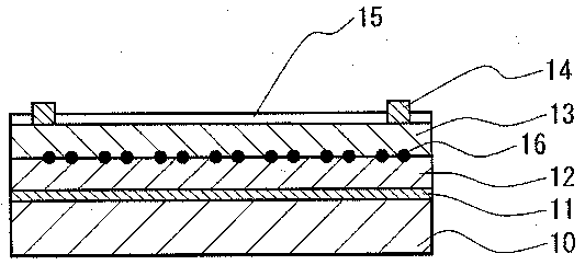
目的

pn接合を利用した太陽電池においてより効果的に光エネルギから電力を発生させる光電変換素子の提供。

技術概要

本技術の光電変換素子では、pn接合を有する光電変換素子において、受光することにより電気伝導度が変化する電気伝導度変化体をpn接合部分に設ける。さらに、この光電変換素子では、以下の点にも特徴を有するものである。すなわち、(1)電気伝導度変化体を、Rを、In,Sc,Y,Dy,Ho,Er,Tm,Yb,Lu,Ti,Ca,Sr,Ce,Sn,Hfから選ばれる少なくとも1種類の元素、Ma及びMbを、Ti,Mn,Fe,Co,Cu,Ga,Zn,Al,Mg,Cdから重複を許して選ばれる少なくとも1種類の元素、nを1以上の整数、mを0以上の整数、δを0以上0.2以下の実数として、(RMbO↓(3-δ))↓n(MaO)↓mとして表される層状三角格子構造を有する化合物、またはその化合物のRの一部を正二価以下の元素により置換した化合物とする。(2)電気伝導度変化体をn型電導体としてpn接合を形成する。(3)pn接合を形成するp型電導体を有機物半導体で構成する。また、この光電変換素子の製造方法では、pn接合を有する光電変換素子の製造方法において、pn接合部分に受光することにより電気伝導度が変化する電気伝導度変化体を設ける工程を有する。

こちらにも興味があるかもしれません
  • ベストセラー
  • 人気の案件
  • Recently Viewed
車両用警報制御システム
特許第4642688
価格については「出品者にお問い合わせ」をクリックしてご相談ください。
価格については「出品者にお問い合わせ」をクリックしてご相談ください。
緑化屋根工法 メタルグリーンルーフ
特許番号6723408号
価格については「出品者にお問い合わせ」をクリックしてご相談ください。
価格については「出品者にお問い合わせ」をクリックしてご相談ください。
荷役用パレット
日本 特許第6150152号  中国 専利号 ZL 2017 1 0608852.2  香港 専利編号 HK1244765  
価格については「出品者にお問い合わせ」をクリックしてご相談ください。