光センサ及びその製造方法

ライセンス

特許第5360837
価格については「出品者にお問い合わせ」をクリックしてご相談ください。
出品中

案件情報

特許権
ジャンル:
電気・電子
登録番号:
特許第5360837
共通項目
希望取引:
  • ライセンス
  • 相談可
権利者:
国立大学法人岡山大学

説明

目的

未だに光センサにおける長波長側の感度は十分ではなく、さらなる感度の向上が可能な光センサの提供。

技術概要

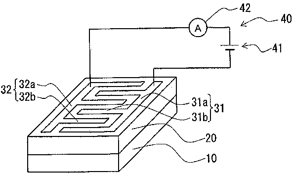
本技術の光センサでは、受光することにより電気伝導度が変化する電気伝導度変化体と、電気伝導度変化体の受光面に設けた第1電極及び第2電極と、第1電極と第2電極との間に生じた電流を検出する電流検出手段とを有する光センサであって、電気伝導度変化体を希土類元素を含有した層状三角格子構造を有する化合物で構成することとした。さらに、この光センサでは、以下の点にも特徴を有するものである。すなわち、(1)化合物が、Rを、In,Sc,Y,Dy,Ho,Er,Tm,Yb,Lu,Ti,Ca,Sr,Ce,Sn,Hfから選ばれる少なくとも1種類の元素、Ma及びMbを、Ti,Mn,Fe,Co,Cu,Ga,Zn,Al,Mg,Cdから重複を許して選ばれる少なくとも1種類の元素、nを1以上の整数、mを0以上の整数、δを0以上0.2以下の実数として、(RMbO↓(3-δ))↓n(MaO)↓mとして表される層状三角格子構造を有する化合物、またはその化合物のRの一部を正二価以下の元素により置換した化合物であること。(2)第1電極と第2電極をそれぞれ櫛歯状に設けること。

こちらにも興味があるかもしれません
  • ベストセラー
  • 人気の案件
  • Recently Viewed
車両用警報制御システム
特許第4642688
価格については「出品者にお問い合わせ」をクリックしてご相談ください。
価格については「出品者にお問い合わせ」をクリックしてご相談ください。
緑化屋根工法 メタルグリーンルーフ
特許番号6723408号
価格については「出品者にお問い合わせ」をクリックしてご相談ください。
価格については「出品者にお問い合わせ」をクリックしてご相談ください。
荷役用パレット
日本 特許第6150152号  中国 専利号 ZL 2017 1 0608852.2  香港 専利編号 HK1244765  
価格については「出品者にお問い合わせ」をクリックしてご相談ください。