電磁波波面整形素子及びそれを備えた電磁波イメージング装置、並びに電磁波イメージング方法

ライセンス

特許第4534027
価格については「出品者にお問い合わせ」をクリックしてご相談ください。
出品中

案件情報

特許権
ジャンル:
情報通信・IT・ソフトウェア
登録番号:
特許第4534027
共通項目
希望取引:
  • ライセンス
  • 相談可
権利者:
国立大学法人岡山大学

説明

目的

この発明は、電磁波によるイメージングを高速に行うための電磁波波面整形素子及びそれを備えた電磁波イメージング装置、並びに電磁波イメージング方法を提供する。


技術概要

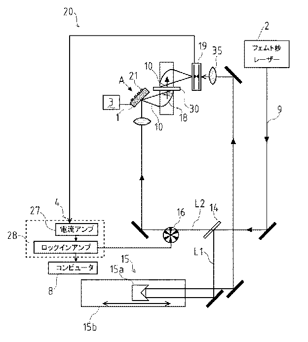
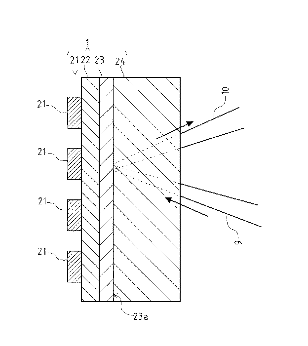
テラヘルツ(THz)周波数帯を利用する技術の急速な発展に伴い、多岐にわたる産業分野へのテラヘルツ波を応用した技術開発が進展しており、同時に様々なTHzコンポーネントへの需要が拡大している。しかし、イメージング装置においては、試料にテラヘルツ波を放射するに際し、異なる波面(変調)パターンを得るためには、マスクを機械的に交換する必要がある。そのため、イメージングによる計測速度が低下するという問題点があった。この発明の電磁波イメージング装置は、電磁波に対して波面整形を行うための電磁波波面整形素子であって、半導体と、その上に形成される絶縁体と、その上にアレイ状に形成される複数の電極と、複数の電極と半導体との各間に所定の印加電圧をそれぞれ付与するとともに、印加電圧をそれぞれ制御するための電圧印加手段と、を具備し、半導体にパルスレーザー光が入射した際に、電圧印加手段により、印加電圧をそれぞれ制御することで、印加電圧が付与された電極に対応する半導体のパルスレーザー光入射面から発生する電磁波の放射強度を制御する。

こちらにも興味があるかもしれません
  • ベストセラー
  • 人気の案件
  • Recently Viewed
車両用警報制御システム
特許第4642688
価格については「出品者にお問い合わせ」をクリックしてご相談ください。
価格については「出品者にお問い合わせ」をクリックしてご相談ください。
緑化屋根工法 メタルグリーンルーフ
特許番号6723408号
価格については「出品者にお問い合わせ」をクリックしてご相談ください。
価格については「出品者にお問い合わせ」をクリックしてご相談ください。
荷役用パレット
日本 特許第6150152号  中国 専利号 ZL 2017 1 0608852.2  香港 専利編号 HK1244765  
価格については「出品者にお問い合わせ」をクリックしてご相談ください。