パルス電磁波を用いた計測装置及び計測方法

ライセンス

特許第5807957
価格については「出品者にお問い合わせ」をクリックしてご相談ください。
出品中

案件情報

特許権
ジャンル:
電気・電子
登録番号:
特許第5807957
共通項目
希望取引:
  • ライセンス
  • 相談可
権利者:
国立大学法人岡山大学

説明

目的

被検出物質を高感度・高精度に検出可能であるテラヘルツ光を用いた計測装置及び計測方法の提供を目的とする。


技術概要

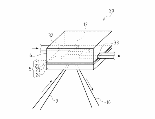
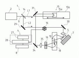
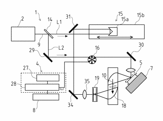
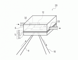
パルス電磁波を用いた計測装置は、物質検出プレートと、物質検出プレートにパルスレーザー光を照射することで、照射位置における被検出物質の量に依存する振幅強度を持ったパルス電磁波を発生させる手段と、パルス電磁波の振幅強度を検出する検出手段とを備え、振幅強度より、被検出物質を含む溶液の状態の変化を計測する装置である。 パルスレーザー光を2分割する第1ビームスプリッタと、被検出物質を含む溶液が導入可能である検出領域部と、参照溶液が導入可能である参照領域部とを備え、2分割されたパルスレーザー光を検出領域部に対応する半導体に照射するとともに、参照領域に対応する半導体に各々照射し、検出領域部及び参照領域部に対応する半導体から発生する各々のパルス電磁波を集光して、ひとつの検出手段により検出する。

こちらにも興味があるかもしれません
  • ベストセラー
  • 人気の案件
  • Recently Viewed
車両用警報制御システム
特許第4642688
価格については「出品者にお問い合わせ」をクリックしてご相談ください。
価格については「出品者にお問い合わせ」をクリックしてご相談ください。
緑化屋根工法 メタルグリーンルーフ
特許番号6723408号
価格については「出品者にお問い合わせ」をクリックしてご相談ください。
価格については「出品者にお問い合わせ」をクリックしてご相談ください。
荷役用パレット
日本 特許第6150152号  中国 専利号 ZL 2017 1 0608852.2  香港 専利編号 HK1244765  
価格については「出品者にお問い合わせ」をクリックしてご相談ください。