リハビリテーション装置

ライセンス

特許第5024872
価格については「出品者にお問い合わせ」をクリックしてご相談ください。
出品中

案件情報

特許権
ジャンル:
生活・文化・娯楽
登録番号:
特許第5024872
共通項目
希望取引:
  • ライセンス
  • 相談可
権利者:
国立大学法人岡山大学

説明

目的

伸展位拘縮が生じた指の関節のリハビリテーションに適したリハビリテーション装置を提供する。


技術概要

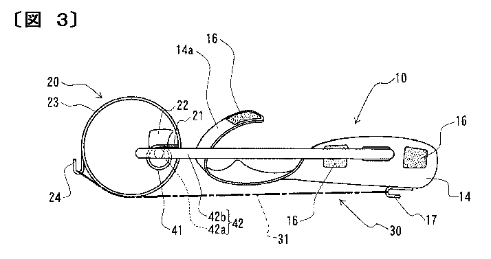
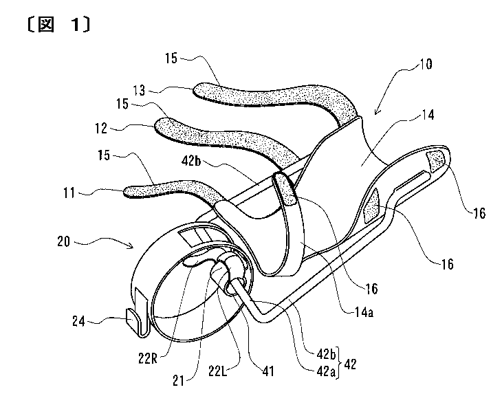
手首部分及び掌部分にあてがって手首のかえりを規制する掌支持部10と、伸展位拘縮が生じている関節の指先側に位置した指骨部分に固定的に装着して指を支持する指支持部20と、この指支持部20を牽引することにより指を曲げ方向に牽引する牽引手段30とによって伸展位拘縮が生じた指の機能を回復させるリハビリテーション装置は、指支持部20が装着された指を牽引手段30で牽引する際に、指支持部20を、伸展位拘縮が生じている関節の伸展方向に移動させる移動手段を設ける。移動手段は、指の腹側に装着した指支持部の裏面側に設けた円筒状の回転ガイド41と、この回転ガイド41に挿入して回転ガイドを支持する支持軸42を有し、支持軸回りに回転ガイド41を回転させることにより指支持部を伸展位拘縮が生じている関節の伸展方向に移動させる。支持軸42は、指と交差する方向に延伸させて回転ガイド41に挿通させる挿通部42aと、この挿通部42aの両側にそれぞれ設けた接続部42bとを有し、この接続部の端部をそれぞれ掌支持部10に接続するとともに、挿通部42aは、人差し指側を小指側よりも前方に配置させた傾斜状とする。

こちらにも興味があるかもしれません
  • ベストセラー
  • 人気の案件
  • Recently Viewed
車両用警報制御システム
特許第4642688
価格については「出品者にお問い合わせ」をクリックしてご相談ください。
価格については「出品者にお問い合わせ」をクリックしてご相談ください。
緑化屋根工法 メタルグリーンルーフ
特許番号6723408号
価格については「出品者にお問い合わせ」をクリックしてご相談ください。
価格については「出品者にお問い合わせ」をクリックしてご相談ください。
荷役用パレット
日本 特許第6150152号  中国 専利号 ZL 2017 1 0608852.2  香港 専利編号 HK1244765  
価格については「出品者にお問い合わせ」をクリックしてご相談ください。