マイクロミキサー

ライセンス

特許第5223065
価格については「出品者にお問い合わせ」をクリックしてご相談ください。
出品中

案件情報

特許権
ジャンル:
機械・加工
登録番号:
特許第5223065
共通項目
希望取引:
  • ライセンス
  • 相談可
権利者:
国立大学法人岡山大学

説明

目的

小型でありながら構造が比較的単純で、かつ混合効率を有効に高めることができるマイクロミキサーを提供する。

技術概要

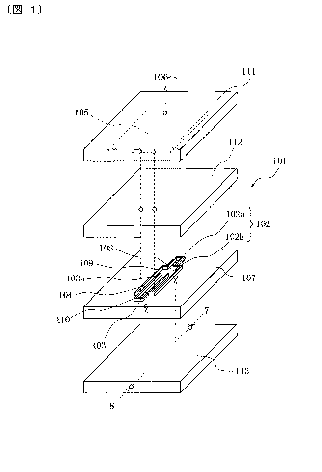
図1はマイクロミキサーの要部構成を示した分解斜視図である。第1流体が第1方向に指向した流れになるように案内する細溝部102aと太溝部102bとを連結して構成される第1区画溝102と、第1区画溝の太溝部内に、第1方向とは逆向きに指向した流れになるよう第2流体を案内する先端溝部103aを有し、第1区画溝内を流れる第1流体7と第2区画溝103内を流れる第2流体8とを向流で衝突させて得られる混合流体9を、第1方向と同じ向きに指向した流れに案内するとともに、混合流体の圧力を高める第3区画溝104と、第3区画溝と連通し、第3区画溝から吐出される混合流体9の流体圧力を下げ、これに伴って生じる渦流により混合流体の混合を促進させる混合促進空間105と、混合促進空間内の混合流体を所定の回収手段へ案内する案内部材106とを有する。図2は図1のマイクロミキサーにおいて、第1区画溝内を通る第1流体と第2区画溝内を通る第2流体とが対流で衝突させて混合流体となることを説明するための概念図である。

こちらにも興味があるかもしれません
  • ベストセラー
  • 人気の案件
  • Recently Viewed
車両用警報制御システム
特許第4642688
価格については「出品者にお問い合わせ」をクリックしてご相談ください。
価格については「出品者にお問い合わせ」をクリックしてご相談ください。
緑化屋根工法 メタルグリーンルーフ
特許番号6723408号
価格については「出品者にお問い合わせ」をクリックしてご相談ください。
価格については「出品者にお問い合わせ」をクリックしてご相談ください。
荷役用パレット
日本 特許第6150152号  中国 専利号 ZL 2017 1 0608852.2  香港 専利編号 HK1244765  
価格については「出品者にお問い合わせ」をクリックしてご相談ください。