マイクロミキサー

ライセンス

特許第5232983
価格については「出品者にお問い合わせ」をクリックしてご相談ください。
出品中

案件情報

特許権
ジャンル:
機械・加工
登録番号:
特許第5232983
共通項目
希望取引:
  • ライセンス
  • 相談可
権利者:
国立大学法人岡山大学

説明

目的

小型でありながら構造が比較的単純で、かつ混合効率を有効に高めることができるマイクロミキサーを提供する。


技術概要

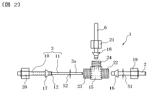
図1はマイクロミキサーの正面図、図2は図1のマイクロミキサーの分解図、図3は図1のマイクロミキサーにおいて、第1管状部材内を通る第1流体と第2管状部材内を通る第2流体とが対流で衝突させて混合流体となることを説明するための概念図、である。マイクロミキサー1は、第1案内流路である第1管状部材2と、第2案内流路である第2管状部材3と、第3案内流路である第1環状空間4(図3)と、混合促進空間5と、第4案内流路である第3管状部材6とで主に構成され、少なくとも3本の管状部材、図1では3本の管状部材2、3および6を、好適にはT字状に連結して形成してなるマイクロミキサーである。マイクロミキサーは、図3に示すように、第2流体8を吐出する第2管状部材3の吐出口14位置または吐出直後の位置で、第1流体7と第2流体8とが向流で供給され、衝突により混合が行われて混合流体9にすることができる。次に、混合流体9は、第1管状部材2の下流側部分2aと第2管状部材3の管状先端部3aとで区画された第1環状空間4で、混合流体9の流体圧力を高めてから混合促進空間5内に排出される。

こちらにも興味があるかもしれません
  • ベストセラー
  • 人気の案件
  • Recently Viewed
車両用警報制御システム
特許第4642688
価格については「出品者にお問い合わせ」をクリックしてご相談ください。
価格については「出品者にお問い合わせ」をクリックしてご相談ください。
緑化屋根工法 メタルグリーンルーフ
特許番号6723408号
価格については「出品者にお問い合わせ」をクリックしてご相談ください。
価格については「出品者にお問い合わせ」をクリックしてご相談ください。
荷役用パレット
日本 特許第6150152号  中国 専利号 ZL 2017 1 0608852.2  香港 専利編号 HK1244765  
価格については「出品者にお問い合わせ」をクリックしてご相談ください。