二次元磁気特性測定装置

ライセンス

特許第4910149
価格については「出品者にお問い合わせ」をクリックしてご相談ください。
出品中

案件情報

特許権
ジャンル:
電気・電子
登録番号:
特許第4910149
共通項目
希望取引:
  • ライセンス
  • 相談可
権利者:
国立大学法人岡山大学

説明

目的

励磁コイルを試料の対角線方向に巻くことで、巻数に対する磁路長を等しくして磁束密度の分布をより均一化する。


技術概要

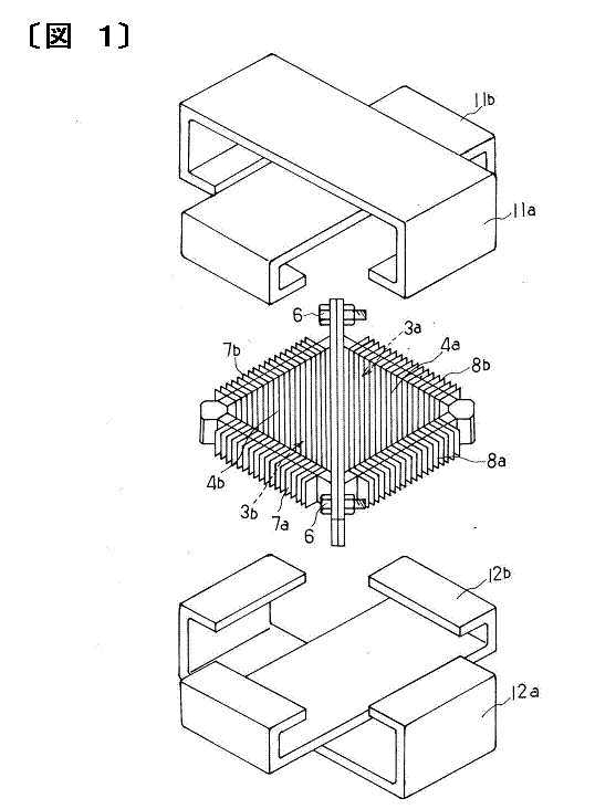
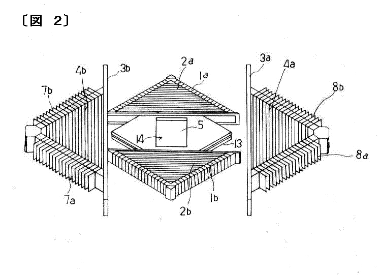
四角形をした内側励磁コイルの周囲に内側励磁コイルの巻き方向と直交する方向にコイルを巻いた同じく四角形をした外側励磁コイルを配置し、内側励磁コイルの中に正方形の試料を隣り合う辺が内側及び外側励磁コイルの巻き方向とそれぞれ平行に設定して収容するとともに、内側及び外側励磁コイルに電流を流して試料中を各々の電流値で合成された方向に通行する磁束を発生させる二次元磁気特性測定装置である。内側及び外側励磁コイルを、二等辺三角形をした巻枠に対して底辺と平行で、かつ、互いに試料の対角線方向に直交させて巻いて底辺同士を合わせた四角形に形成する。図1は、測定装置の斜視図、図2はこれを分解した状態の斜視図である。この測定装置は、内側巻枠1に巻かれた内側励磁コイル2と、外側巻枠3に巻かれた外側励磁コイル4とを有している。内側巻枠1は、平面視二等辺三角形をした一方側巻枠1aと同じく二等辺三角形をした他方側巻枠1bの底辺同士を合わせた四角形に形成する。内側励磁コイル2は、一方側励磁コイル1aと、他方側励磁コイル1bとに分けて巻かれているが、各々は一方側巻枠1aと他方側巻枠1bの底辺それぞれに平行に巻かれている。

こちらにも興味があるかもしれません
  • ベストセラー
  • 人気の案件
  • Recently Viewed
車両用警報制御システム
特許第4642688
価格については「出品者にお問い合わせ」をクリックしてご相談ください。
価格については「出品者にお問い合わせ」をクリックしてご相談ください。
緑化屋根工法 メタルグリーンルーフ
特許番号6723408号
価格については「出品者にお問い合わせ」をクリックしてご相談ください。
価格については「出品者にお問い合わせ」をクリックしてご相談ください。
荷役用パレット
日本 特許第6150152号  中国 専利号 ZL 2017 1 0608852.2  香港 専利編号 HK1244765  
価格については「出品者にお問い合わせ」をクリックしてご相談ください。