傾斜地利用型環境調節システム

ライセンス

特許第5087766
価格については「出品者にお問い合わせ」をクリックしてご相談ください。
出品中

案件情報

特許権
ジャンル:
機械・加工
登録番号:
特許第5087766
共通項目
希望取引:
  • ライセンス
  • 相談可
権利者:
国立大学法人岡山大学

説明

目的

自然エネルギーを利用することでシステムの作動エネルギーの供給を不要とした傾斜地利用型環境調節システムを提供する。


技術概要

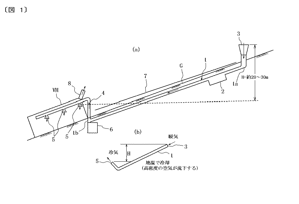
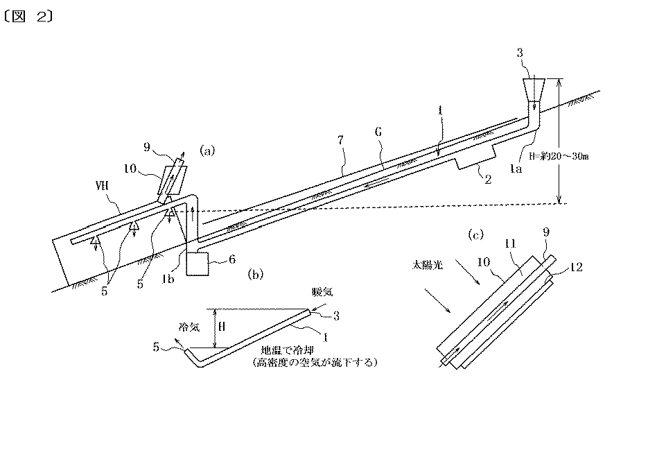
図1(a)は、傾斜地利用型環境調節システムを示す構成図、図1(b)は、傾斜地利用型環境調節システムの作動原理を示す説明図である。傾斜地利用型環境調節システムは、傾斜地Gにその斜面に沿って埋設されて地温により冷却される一または複数本の地中流路1と、地中流路の上端部に接続された外気取り入れ口3と、構造物VHの内部空間に設けられて地中流路の下端部に接続された空気吐出口5と、を具え、地中流路1内の空気がその地中流路で冷却されてその地中流路内を下降流動して空気吐出口5から構造物VHの内部空間に吐出され、その地中流路1内の空気の下降流動に伴って外気取り入れ口3から外気がその地中流路内に取り入れられる。図2(a)は、傾斜地利用型環境調節システムの他の例を示す構成図、図2(b)は、傾斜地利用型環境調節システムの作動原理を示す説明図、図2(c)は、傾斜地利用型環境調節システムの気流加速パイプ周辺を拡大して示す断面図である。

こちらにも興味があるかもしれません
  • ベストセラー
  • 人気の案件
  • Recently Viewed
車両用警報制御システム
特許第4642688
価格については「出品者にお問い合わせ」をクリックしてご相談ください。
価格については「出品者にお問い合わせ」をクリックしてご相談ください。
緑化屋根工法 メタルグリーンルーフ
特許番号6723408号
価格については「出品者にお問い合わせ」をクリックしてご相談ください。
価格については「出品者にお問い合わせ」をクリックしてご相談ください。
荷役用パレット
日本 特許第6150152号  中国 専利号 ZL 2017 1 0608852.2  香港 専利編号 HK1244765  
価格については「出品者にお問い合わせ」をクリックしてご相談ください。