温度センサ

ライセンス

特許第4257438
価格については「出品者にお問い合わせ」をクリックしてご相談ください。
出品中

案件情報

特許権
ジャンル:
電気・電子
登録番号:
特許第4257438
共通項目
希望取引:
  • ライセンス
  • 相談可
権利者:
国立大学法人岡山大学

説明

目的

内燃機関の燃焼室内の温度を精度よく計測可能な温度センサを提供する。


技術概要

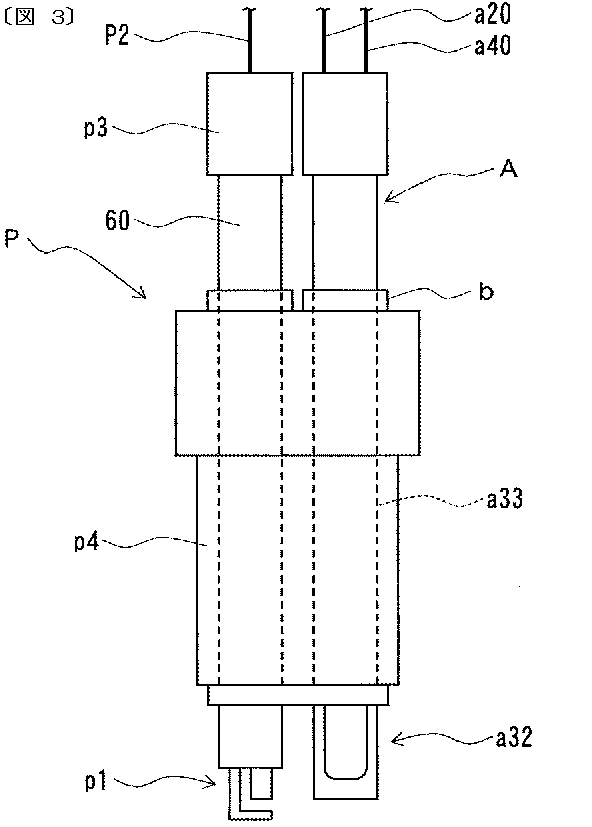
図1は、温度センサA1の概略模式図である。温度センサA1は、所要のレーザ光を出射する光源部10と、この光源部10から出射されたレーザ光を案内する第1光ファイバ20と、この第1光ファイバ20を介して入射されたレーザ光を試験光L1と参照光L2に分離して、試験光L1のみを温度が計測される被計測空間Tを横断させて反射させるとともに参照光L2を適宜反射させ、さらに反射された試験光L1と参照光L2とをまとめて出射するセンサ部30と、このセンサ部30から出射された試験光L1と参照光L2とを案内する第2光ファイバ40と、試験光L1と参照光L2を干渉させた際の干渉状態の変化を検出することにより温度変化を検出する検出部50とで構成している。センサ部30は、第1光ファイバ20を介して入射されたレーザ光を試験光L1と参照光L2に分離する分離部31を一端に備えるとともに、この分離部31で分離された試験光L1を温度が計測される被計測空間Tを横断させて反射させる受感部32を他端に備えた筒状のケーシング33で構成している。図2は温度センサの他の例の概略模式図である。図3は点火プラグに装着した温度センサの説明図である。

こちらにも興味があるかもしれません
  • ベストセラー
  • 人気の案件
  • Recently Viewed
車両用警報制御システム
特許第4642688
価格については「出品者にお問い合わせ」をクリックしてご相談ください。
価格については「出品者にお問い合わせ」をクリックしてご相談ください。
緑化屋根工法 メタルグリーンルーフ
特許番号6723408号
価格については「出品者にお問い合わせ」をクリックしてご相談ください。
価格については「出品者にお問い合わせ」をクリックしてご相談ください。
荷役用パレット
日本 特許第6150152号  中国 専利号 ZL 2017 1 0608852.2  香港 専利編号 HK1244765  
価格については「出品者にお問い合わせ」をクリックしてご相談ください。