損傷検出装置及び損傷検出方法

売買

ライセンス

特許第4904489
価格については「出品者にお問い合わせ」をクリックしてご相談ください。
出品中

案件情報

特許権
ジャンル:
電気・電子
登録番号:
特許第4904489
共通項目
希望取引:
  • ライセンス
  • 売買
  • 相談可
権利者:
国立大学法人岡山大学

説明

目的

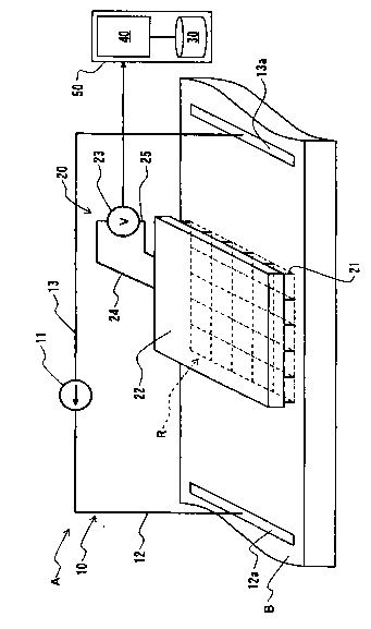
被検体内に埋没したき裂、あるいは表面に露出したき裂、あるいは被検体の減肉などの損傷を、任意のアスペクト比と傾きをもつ三次元で定量化可能とする非破壊検査方法で、より高速でき裂を特定可能とした損傷検出装置及び損傷検出方法の提供。

技術概要

この技術では、被検体に生じた損傷を検出する損傷検出装置及び方法であって、被検体における検査領域を所定の通電状態とするために通電する通電手段と、検査領域における所定間隔での電位差を測定する電圧測定手段と、この電圧測定手段で得られた複数の電位差データに基づいて損傷の有無及びその形状を解析する解析手段とを備え、解析手段では、仮想損傷を指定するパラメータをあらかじめ仮定し、電位差データに基づいて、被検体を表面同士で互いに当接させた二重体に、さらに被検体の裏面同士を互いに当接させた四重体に対して最尤推定法による演算を実行してパラメータの最尤推定値を算出する。

こちらにも興味があるかもしれません
  • ベストセラー
  • 人気の案件
  • Recently Viewed
車両用警報制御システム
特許第4642688
価格については「出品者にお問い合わせ」をクリックしてご相談ください。
価格については「出品者にお問い合わせ」をクリックしてご相談ください。
緑化屋根工法 メタルグリーンルーフ
特許番号6723408号
価格については「出品者にお問い合わせ」をクリックしてご相談ください。
価格については「出品者にお問い合わせ」をクリックしてご相談ください。
荷役用パレット
日本 特許第6150152号  中国 専利号 ZL 2017 1 0608852.2  香港 専利編号 HK1244765  
価格については「出品者にお問い合わせ」をクリックしてご相談ください。