脱気・溶解装置及び脱気・溶解方法

売買

ライセンス

特許第5216996
価格については「出品者にお問い合わせ」をクリックしてご相談ください。
出品中

案件情報

特許権
ジャンル:
機械・加工
登録番号:
特許第5216996
共通項目
希望取引:
  • ライセンス
  • 売買
  • 相談可
権利者:
国立大学法人岡山大学

説明

目的

液体の脱気処理または液体への気体の溶解処理に用いる脱気・溶解装置及び脱気・溶解方法において、スーパーキャビテーションによって生成された空洞を利用することにより、この空洞が安定形状を保って停留するので空洞内の減圧または加圧が可能であって、この空洞内の減圧または加圧によって液体の脱気または液体への気体の溶解を高速に行え、しかも、比較的低コストの装置とする。


技術概要

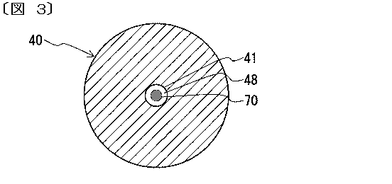
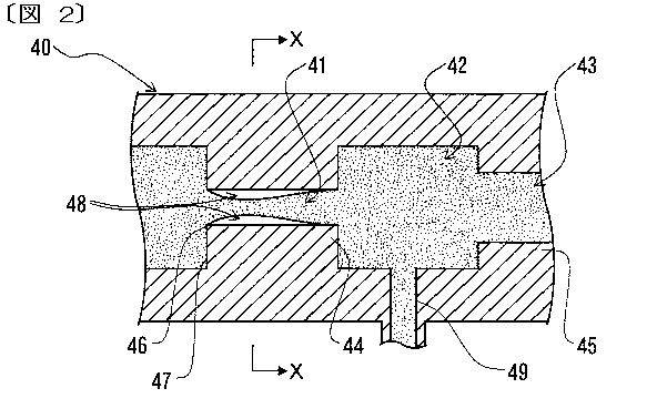
図1は脱気・溶解装置(脱気装置)の概略模式図、図2は空洞形成管に空洞が形成された状態の説明図、図3は図2のX-X断面図、である。脱気装置Aは、処理される液体を貯留するタンク10と、このタンク10に両端をそれぞれ接続して周回状の流路を構成する配管20と、この配管20の中途部に設けてタンク10の液体を吸引して下流側に送給するポンプ30と、配管20の中途部に設けて液体が接する空洞を形成する空洞形成部である空洞形成管40と、この空洞形成管40内に形成した空洞内を減圧する減圧手段である真空ポンプ50とで構成する。空洞形成管40には、図1に示すように、内側に向けて膨出した円筒絞り状の第1遮蔽体44を設けて配管20の流通面積よりも小さい流通面積とした第1流路41と、この第1流路41の流通面積よりも大きい流通面積とした第2流路42と、この第2流路42の流通面積よりは小さく、第1流路41の流通面積よりは大きい流通面積とした第3流路43をこの順で上流側から設ける。第1遮蔽体44には、第1流路41の上流側の端縁にキャビテーションを生じさせるための剥離点46を設ける。

こちらにも興味があるかもしれません
  • ベストセラー
  • 人気の案件
  • Recently Viewed
車両用警報制御システム
特許第4642688
価格については「出品者にお問い合わせ」をクリックしてご相談ください。
価格については「出品者にお問い合わせ」をクリックしてご相談ください。
緑化屋根工法 メタルグリーンルーフ
特許番号6723408号
価格については「出品者にお問い合わせ」をクリックしてご相談ください。
価格については「出品者にお問い合わせ」をクリックしてご相談ください。
荷役用パレット
日本 特許第6150152号  中国 専利号 ZL 2017 1 0608852.2  香港 専利編号 HK1244765  
価格については「出品者にお問い合わせ」をクリックしてご相談ください。