共振制御式流体圧制御システムおよびその制御システム用流体圧制御弁

ライセンス

特許第4590562
価格については「出品者にお問い合わせ」をクリックしてご相談ください。
出品中

案件情報

特許権
ジャンル:
機械・加工
登録番号:
特許第4590562
共通項目
希望取引:
  • ライセンス
  • 相談可
権利者:
国立大学法人岡山大学

説明

目的

流体圧制御弁への電気配線を不要にし、加圧流体の供給路のみで任意の流体圧アクチュエータの作動を制御し得る共振制御式流体圧制御システムおよび、その制御システム用の流体圧制御弁を提供する。


技術概要

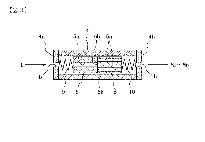
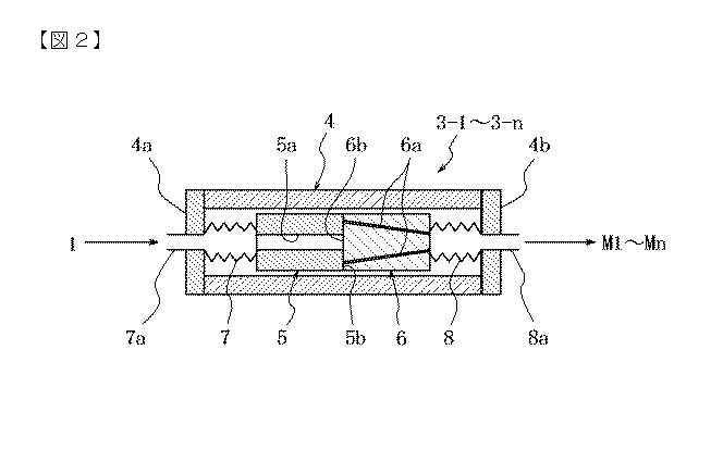
図1に示す、コンプレッサ1からの加圧空気の供給路2に接続された空気圧制御弁3-1~3-nと、それらの空気圧制御弁を作動させるために、コンプレッサ1からの加圧流体に所定周波数の振動を加える振動子12および振動子駆動回路13とを具え、空気圧制御弁3-1~3-nが各々加圧空気から所定周波数の振動を伝えられるとその振動に共振して加圧空気の流路を開放するように振動する弁体を有する、共振制御式空気圧制御システムである。空気圧制御弁3-1~3-nは図2に示すように、円筒状のスリーブ4と、そのスリーブ4内に左右方向に摺動自在に配置され内部に加圧空気通路5aを有する、弁体としての第1の振動体5と、その第1の振動体5の端面5bと密接可能な端面を6b有し内部に加圧空気通路6aを有する第2の振動体6と、スリーブ4の左方の端壁4aによって支持されて第1の振動体5をその第2の振動体6へ向けて常時附勢する、スプリングとして蛇腹状の筒である第1のベローズ7とを具えている。第2の振動体6も同様に配置され、端壁4bにより支持されてスプリングとして蛇腹状の筒である第2のベローズ8を具える。図3は空気圧制御弁を示す断面図である。

こちらにも興味があるかもしれません
  • ベストセラー
  • 人気の案件
  • Recently Viewed
車両用警報制御システム
特許第4642688
価格については「出品者にお問い合わせ」をクリックしてご相談ください。
価格については「出品者にお問い合わせ」をクリックしてご相談ください。
緑化屋根工法 メタルグリーンルーフ
特許番号6723408号
価格については「出品者にお問い合わせ」をクリックしてご相談ください。
価格については「出品者にお問い合わせ」をクリックしてご相談ください。
荷役用パレット
日本 特許第6150152号  中国 専利号 ZL 2017 1 0608852.2  香港 専利編号 HK1244765  
価格については「出品者にお問い合わせ」をクリックしてご相談ください。