ワークの表面状態検出方法及び表面状態検出装置

売買

ライセンス

特許第4882069
価格については「出品者にお問い合わせ」をクリックしてご相談ください。
出品中

案件情報

特許権
ジャンル:
機械・加工
登録番号:
特許第4882069
共通項目
希望取引:
  • ライセンス
  • 売買
  • 相談可
権利者:
国立大学法人岡山大学

説明

目的

広範囲の測定対象物、特に導電性材全般に適応でき、いかなる動的状態においても外乱の影響を受けることなくインプロセスで表面粗さ及び/又は表面温度の変化量を検出することができ、さらに従来の方法では切断などの処理なしに表面粗さを測足することが不可能又は困難な測定対象面についても特別な処理なしに機上で表面粗さ及び/又は表面温度の変化量を正確且つ簡便に検出することができるワークの表面状態検出方法及びこれを好適に実施するための表面状態検出装置を提供する。

技術概要

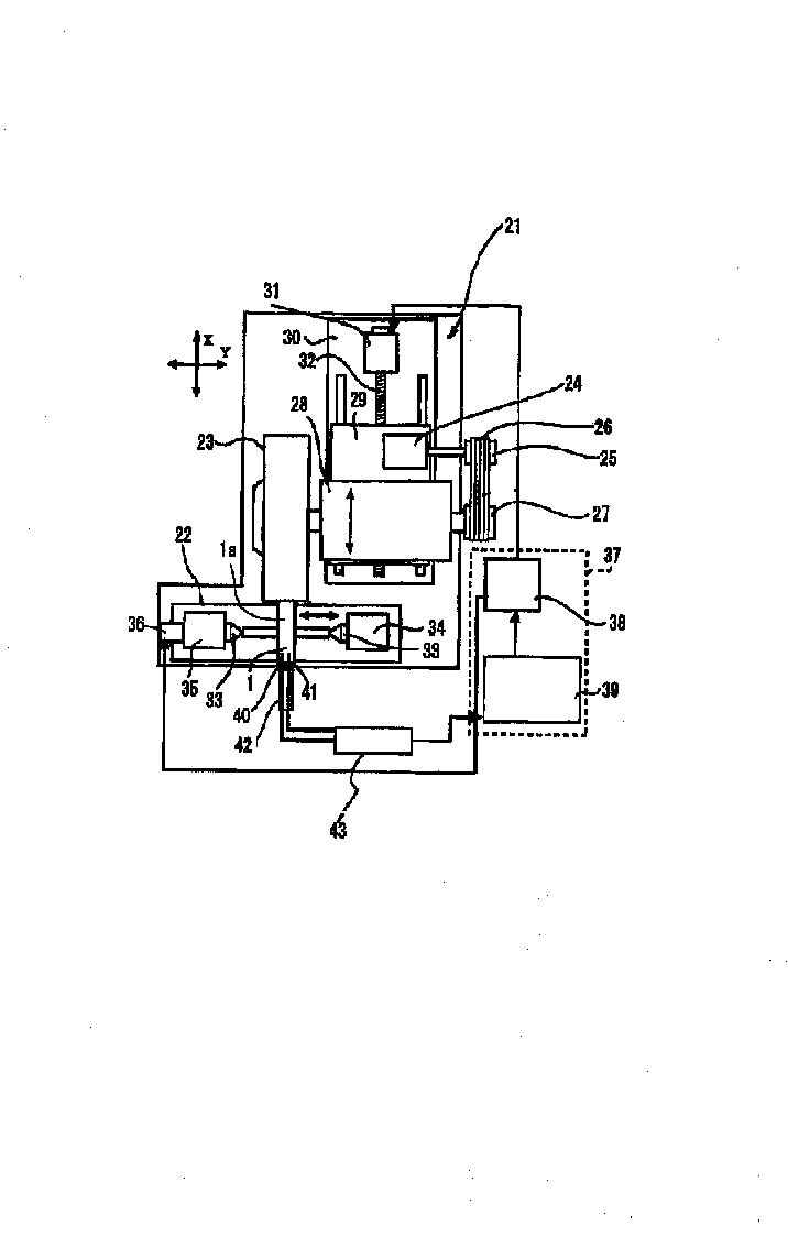
測定用熱電対をワークの被測定面に対して接触させた状態で相対運動させて発生する熱電対の熱起電力を測定し、この熱起電力から、測定用熱電対と同一又は同種のデータ採取用熱電対を被測定面に対する場合と同一の接触条件及び相対運動条件で表面粗さ及び/又は表面温度が既知の基準面に接触させた状態で相対運動させて予め求めた熱起電力と表面粗さ及び/又は表面温度の変化量との相関関係データに基づいて、被測定面の表面粗さ及び/又は表面温度の変化量を求めるようにした。図に示すように、可動テーブル22に取り付けたワーク1を回転状態にし、送りモータで砥石23の切り込み量を調整しながら円筒研削を行う。この円筒研削中に熱電対42を一定の圧力でワーク1の回転研削面1aを押しつけて接触させることにより、熱電対42による熱起電力測定が行われる。その測定から得られた熱起電カデータと、既知の基準面に対してあらかじめ求めて記憶している熱起電力と表面粗さの相関関係に基づき、測定熱起電力に対応する表面粗さデータを表示部に出力し表示する。したがって、円筒研削などの機械加工を行いながらワーク1に対するインプロセス表面状態の測定を行うことができる。

こちらにも興味があるかもしれません
  • ベストセラー
  • 人気の案件
  • Recently Viewed
車両用警報制御システム
特許第4642688
価格については「出品者にお問い合わせ」をクリックしてご相談ください。
価格については「出品者にお問い合わせ」をクリックしてご相談ください。
緑化屋根工法 メタルグリーンルーフ
特許番号6723408号
価格については「出品者にお問い合わせ」をクリックしてご相談ください。
価格については「出品者にお問い合わせ」をクリックしてご相談ください。
荷役用パレット
日本 特許第6150152号  中国 専利号 ZL 2017 1 0608852.2  香港 専利編号 HK1244765  
価格については「出品者にお問い合わせ」をクリックしてご相談ください。