ビリルビン変性器及びビリルビン透析装置

売買

ライセンス

特許第4899040
価格については「出品者にお問い合わせ」をクリックしてご相談ください。
出品中

案件情報

特許権
ジャンル:
化学・バイオ・薬品・食品
登録番号:
特許第4899040
共通項目
希望取引:
  • ライセンス
  • 売買
  • 相談可
権利者:
国立大学法人岡山大学

説明

目的

人工透析にともなってビリルビンの変性を行い、肝機能障害者への負担を大きく軽減するビリルビンの低減化手段を提供する。

技術概要

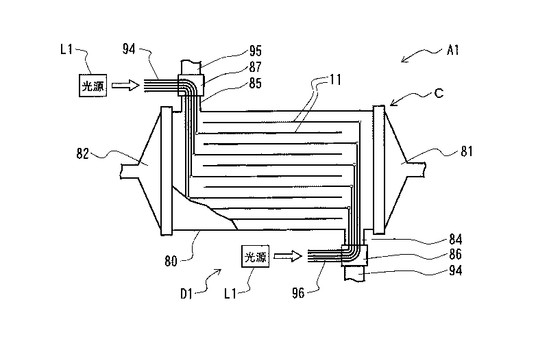
内蔵した中空糸を用いて血液の透析を行う透析用カラムCと、その中空糸83に緑色光を照射する照射部D1の手段を備え、中空糸に緑色光を照射して中空糸内を流れる血液中の脂溶性ビリルビンを水溶性ビリルビンに変性させるビリルビン変性器A1を得る。照光部D1は、レーザー光源L1と、これから照射された光を中空糸83に向けて照射する細線状の導光板からなる透光性繊維体11と、光源L1から繊維体11まで光を導く光ファイバの導光管96を有し、繊維体11は、導光管96によって導かれた光を散乱して繊維体11の伸延方向と直行する方向に照射可能としており、この繊維体11を中空糸83と略平行に配設して、中空糸83への緑色光の照射を行わせる。透析用カラムC内では、複数本の透光性繊維体11を配置し、各透光性繊維体11にそれぞれ導光管96を接続するのが好ましい。

こちらにも興味があるかもしれません
  • ベストセラー
  • 人気の案件
  • Recently Viewed
車両用警報制御システム
特許第4642688
価格については「出品者にお問い合わせ」をクリックしてご相談ください。
価格については「出品者にお問い合わせ」をクリックしてご相談ください。
緑化屋根工法 メタルグリーンルーフ
特許番号6723408号
価格については「出品者にお問い合わせ」をクリックしてご相談ください。
価格については「出品者にお問い合わせ」をクリックしてご相談ください。
荷役用パレット
日本 特許第6150152号  中国 専利号 ZL 2017 1 0608852.2  香港 専利編号 HK1244765  
価格については「出品者にお問い合わせ」をクリックしてご相談ください。