トランスデューサ及びこのトランスデューサを備えた計測装置

売買

ライセンス

特許第4734657
価格については「出品者にお問い合わせ」をクリックしてご相談ください。
出品中

案件情報

特許権
ジャンル:
機械・加工
登録番号:
特許第4734657
共通項目
希望取引:
  • ライセンス
  • 売買
  • 相談可
権利者:
国立大学法人岡山大学

説明

目的

超高圧相鉱物の単結晶のような1mmよりも小さいサイズの試料でも物性値を計測可能とすることのできる計測装置を提供すること


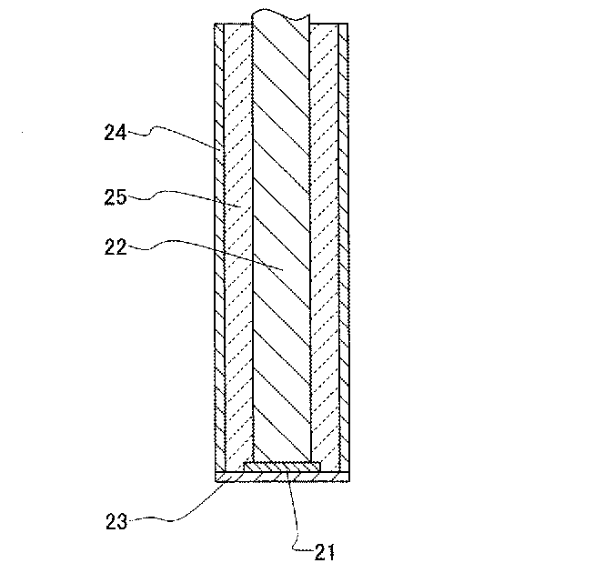
技術概要

この技術のトランスデューサは、薄膜状とした電極と、電極が一方の端部に装着されるとともに、電極と電気的に接続された筒状のケーシングと、ケーシングの内側に面した電極の側面に装着した薄膜状の圧電体と、ケーシングに挿入して先端を圧電体の側面に当接させた導線と、導線が挿入されたケーシング内に液体状態で充填した後に硬化させた絶縁材とを備える。 圧電体は、水晶、チタン酸バリウム、チタン酸鉛、チタン酸ジルコン酸鉛、チタン酸ジルコン酸ランタン鉛、ニオブ酸リチウム、メタニオブ酸鉛、ロッシェル塩、酒石酸エチレンディアミン、酒石酸カリウム、第2リン酸アンモニウム、タングステンブロンズ系結晶、タンタル酸リシウム、ポリフッ化ビニリデン、酸化亜鉛のいずれか1種からなる。 ケーシングを導線として、ケーシングに挿入した導線とともに同軸ケーブル状として圧電体に接続する。

こちらにも興味があるかもしれません
  • ベストセラー
  • 人気の案件
  • Recently Viewed
車両用警報制御システム
特許第4642688
価格については「出品者にお問い合わせ」をクリックしてご相談ください。
価格については「出品者にお問い合わせ」をクリックしてご相談ください。
緑化屋根工法 メタルグリーンルーフ
特許番号6723408号
価格については「出品者にお問い合わせ」をクリックしてご相談ください。
価格については「出品者にお問い合わせ」をクリックしてご相談ください。
荷役用パレット
日本 特許第6150152号  中国 専利号 ZL 2017 1 0608852.2  香港 専利編号 HK1244765  
価格については「出品者にお問い合わせ」をクリックしてご相談ください。