ポンプ

売買

ライセンス

特許第5028624
価格については「出品者にお問い合わせ」をクリックしてご相談ください。
出品中

案件情報

特許権
ジャンル:
機械・加工
登録番号:
特許第5028624
共通項目
希望取引:
  • ライセンス
  • 売買
  • 相談可
権利者:
国立大学法人岡山大学

説明

目的

確実な動作安定性を有するとともに、小型化した場合にも十分な吐出量が得られるポンプを提供する。


技術概要

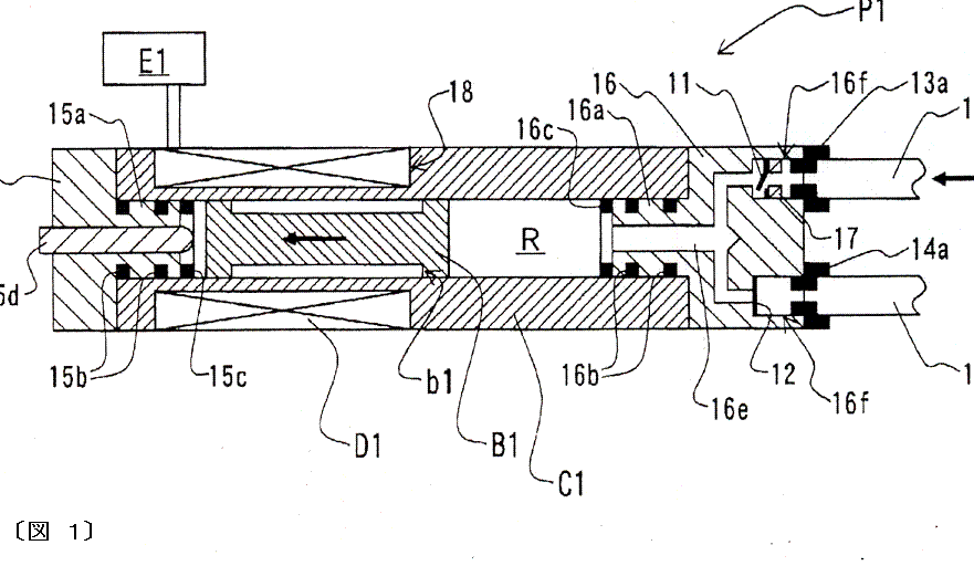
図1及び図2は、ポンプP1の断面概略複式図である。このポンプP1は、両端に磁極を有する棒状磁石からなるピストンB1と、このピストンB1が内設されるシリンダC1と、このシリンダC1に擬装したコイルD1と、このコイルD1に交流電流を通電する通電制御部を備えた電源E1とで構成しており、このポンプP1では、シリンダC1の一端に吸入側一方向弁11を介して送給配管13を連通達結するとともに、送出側一方向弁12を介して送出配管14を連通連結している。ピストンB1は円柱惨状の磁石で構成し、断面円形としたシリンダC1の内周面に沿って進退可能としている。棒状磁石でピストンB1を構成することにより、ピストンB1の一方の端部はN極、他方の端部はS極の磁極を有している。吸入側一方向弁11は、図3に示すように吸入側一方向弁装着部16fに内装可能とした円板体10で構成しており、この円板体10に円弧状のスリット10aを設けてこのスリット10aの内側部分を弁知10bとしている。

こちらにも興味があるかもしれません
  • ベストセラー
  • 人気の案件
  • Recently Viewed
車両用警報制御システム
特許第4642688
価格については「出品者にお問い合わせ」をクリックしてご相談ください。
価格については「出品者にお問い合わせ」をクリックしてご相談ください。
緑化屋根工法 メタルグリーンルーフ
特許番号6723408号
価格については「出品者にお問い合わせ」をクリックしてご相談ください。
価格については「出品者にお問い合わせ」をクリックしてご相談ください。
荷役用パレット
日本 特許第6150152号  中国 専利号 ZL 2017 1 0608852.2  香港 専利編号 HK1244765  
価格については「出品者にお問い合わせ」をクリックしてご相談ください。