pH測定装置及びpH測定方法

ライセンス

売買

特許第4625946
価格については「出品者にお問い合わせ」をクリックしてご相談ください。
出品中

案件情報

共通項目
希望取引:
  • ライセンス
  • 売買
  • 相談可
権利者:
国立大学法人岡山大学

説明

目的

気体性の酸又はアルカリに由来するpH変化と、液体性の酸又はアルカリに由来するpH変化とを、一つの複合センサにより、分離して同時に計測する。

技術概要

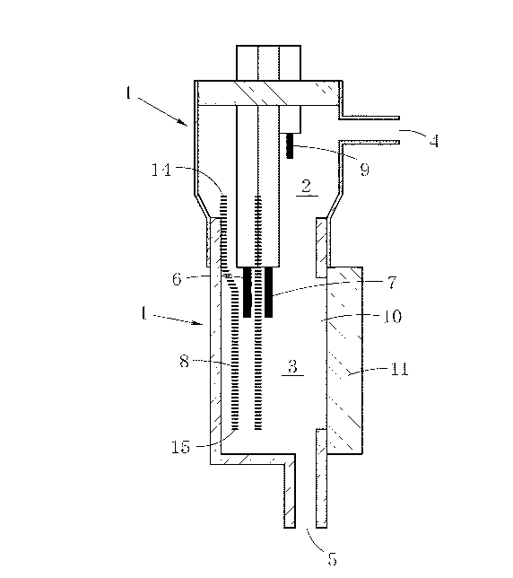
複数のpH電極と、ベースライン溶液の供給及び停止手段とを備えたpH測定装置はベースライン溶液の流路内にpH電極(A)6及びpH電極(B)7が配置され、pH電極(A)6及びpH電極(B)7と液絡可能な位置に比較電極9が配置され、pH電極(A)6と試料11の間にはガス透過膜が配置され、pH電極(B)7と試料11の間にはガス透過膜が配置されず、ベースライン溶液の供給を停止している間に、pH電極(A)6ではガス透過膜を通過する酸又はアルカリに由来するベースライン溶液のpH変化が、pH電極(B)7では全ての酸又はアルカリに由来するベースライン溶液のpH変化が、それぞれ同時に測定される。pH電極(A)は、ガス透過膜からなるチューブに覆われ、チューブの内部をベースライン溶液が流通する。pH電極(A)及びpH電極(B)が内蔵された測定室を備え、測定室がベースライン溶液の流入口及び流出口、並びに測定対象が接触する測定窓を有する。測定室が2つの測定窓を有し、一方の測定窓はガス透過膜で覆われてその内側にpH電極(A)が配置され、他方の測定窓はガス透過膜で覆われずにその内側にpH電極(B)が配置されてなる。

こちらにも興味があるかもしれません
  • ベストセラー
  • 人気の案件
  • Recently Viewed
車両用警報制御システム
特許第4642688
価格については「出品者にお問い合わせ」をクリックしてご相談ください。
価格については「出品者にお問い合わせ」をクリックしてご相談ください。
緑化屋根工法 メタルグリーンルーフ
特許番号6723408号
価格については「出品者にお問い合わせ」をクリックしてご相談ください。
価格については「出品者にお問い合わせ」をクリックしてご相談ください。
荷役用パレット
日本 特許第6150152号  中国 専利号 ZL 2017 1 0608852.2  香港 専利編号 HK1244765  
価格については「出品者にお問い合わせ」をクリックしてご相談ください。