分光計測方法及び分光計測装置

ライセンス

売買

特許第4403272
価格については「出品者にお問い合わせ」をクリックしてご相談ください。
出品中

案件情報

特許権
ジャンル:
その他
登録番号:
特許第4403272
共通項目
希望取引:
  • ライセンス
  • 売買
  • 相談可
権利者:
国立大学法人岡山大学

説明

目的

測定試料の形状および物性および設置方法を限定せずに、測定試料によって反射したテラヘルツパルスの振幅強度情報と位相情報を含む測定を行う方法および装置の提供する。

技術概要

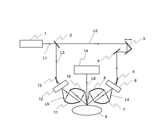
レーザーパルスを用いて発生させたテラヘルツパルス光を測定対象に照射し測定対象から反射する反射光を検出する分光光学系とレーザーを用いて測定対象と分光光学系との相対位置を検出する位置計測装置を備える分光計測装置を構成し、検出した相対位置情報を用いて、分光光学系の遅延装置を補正する。これにより、測定試料の形状および物性および設置方法を限定せずに、測定試料によって反射したテラヘルツパルス光の振幅強度情報と位相情報を含む測定を可能とする。パルスレーザー1から出力されたレーザーパルスL1は、ハーフミラー2によって、2つのレーザーパルスL2とL3に分岐される。分けられた一方のレーザーパルスL3は、テラヘルツ発生器12へ照射される。この結果発生するテラヘルツ光L5は、非軸放物面鏡10、11により測定試料9へ集光される。測定対象で反射したテラヘルツ光L4は、非軸放物面鏡7、8によりテラヘルツ検出器6へ集光される。遅延装置3によりレーザーパルスL2がテラヘルツ検出器6へ到達する時間を変化させながら、テラヘルツ検出器6に入射したテラヘルツ光L4の振幅強度を検出することでテラヘルツパルス光の時系列波形を再生することが可能となる。

こちらにも興味があるかもしれません
  • ベストセラー
  • 人気の案件
  • Recently Viewed
車両用警報制御システム
特許第4642688
価格については「出品者にお問い合わせ」をクリックしてご相談ください。
価格については「出品者にお問い合わせ」をクリックしてご相談ください。
緑化屋根工法 メタルグリーンルーフ
特許番号6723408号
価格については「出品者にお問い合わせ」をクリックしてご相談ください。
価格については「出品者にお問い合わせ」をクリックしてご相談ください。
荷役用パレット
日本 特許第6150152号  中国 専利号 ZL 2017 1 0608852.2  香港 専利編号 HK1244765  
価格については「出品者にお問い合わせ」をクリックしてご相談ください。