脳の虚血監視モニタ

ライセンス

特許第3721408
価格については「出品者にお問い合わせ」をクリックしてご相談ください。
出品中

案件情報

特許権
ジャンル:
電気・電子
登録番号:
特許第3721408
共通項目
希望取引:
  • ライセンス
  • 相談可
権利者:
国立大学法人岡山大学

説明

目的

脳に対する酸素供給量の適否を監視可能な脳の虚血監視モニタを提供する。


技術概要

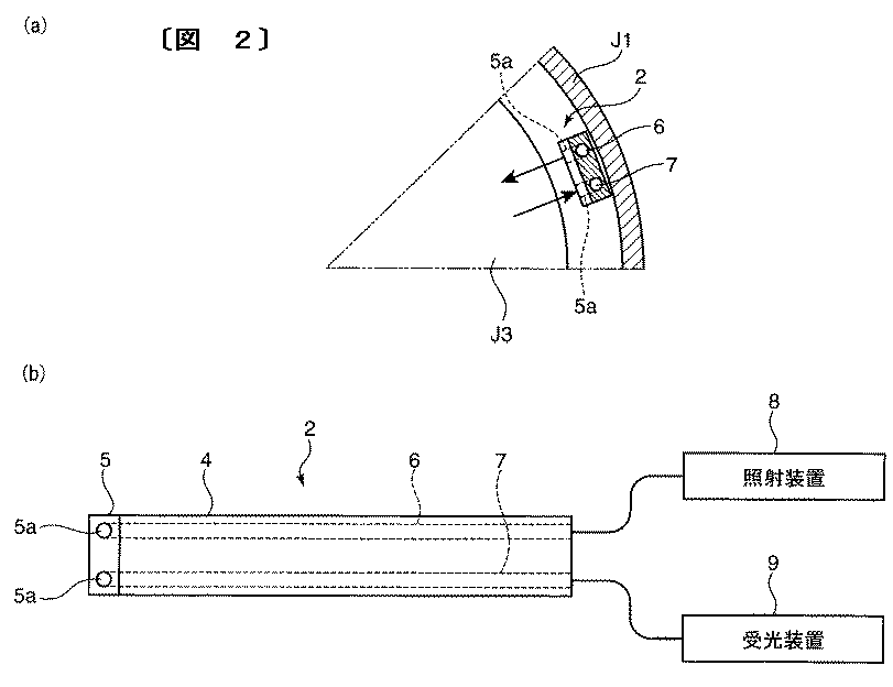
脳の外表面に向けて配置可能な先端部をそれぞれ有する一対の光ファイバと、一方の光ファイバの基端部に接続され、この光ファイバを介して脳の外表面に対して紫外線を照射可能な照射部と、他方の光ファイバの基端部に接続され、この光ファイバを介して、上記紫外線により脳細胞が励起されて発光した蛍光を受光可能な受光部と、照射部による紫外線の照射・照射停止を制御するとともに、受光部により受光した蛍光の強度を算出可能な制御部と、この制御部により算出された蛍光強度を表示可能な表示部とを備え、記照射部は、光源と、この光源と光ファイバとの間に配置され、光源の光路を開放・遮断可能なシャッタとを備え、制御部は、シャッタの開放・遮断タイミングを制御するとともに、シャッタを開放する場合には少なくとも2秒以上開放し、この開放時間の間に累積された蛍光強度を算出する脳の虚血監視モニタである。図1は、脳の虚血監視モニタ1を、脳動脈瘤のクリッピング手術時に使用した状態で示す全体概略図であり、図2の(a)は、図1のII-II線断面図、(b)は、図1のケーブル帯2を拡大して示す平面図である。

こちらにも興味があるかもしれません
  • ベストセラー
  • 人気の案件
  • Recently Viewed
車両用警報制御システム
特許第4642688
価格については「出品者にお問い合わせ」をクリックしてご相談ください。
価格については「出品者にお問い合わせ」をクリックしてご相談ください。
緑化屋根工法 メタルグリーンルーフ
特許番号6723408号
価格については「出品者にお問い合わせ」をクリックしてご相談ください。
価格については「出品者にお問い合わせ」をクリックしてご相談ください。
荷役用パレット
日本 特許第6150152号  中国 専利号 ZL 2017 1 0608852.2  香港 専利編号 HK1244765  
価格については「出品者にお問い合わせ」をクリックしてご相談ください。