波力発電装置

売買

ライセンス

特許第6161154
価格については「出品者にお問い合わせ」をクリックしてご相談ください。
出品中

案件情報

特許権
ジャンル:
環境・エネルギー
共通項目
希望取引:
  • 相談可
権利者:
渋谷明

説明

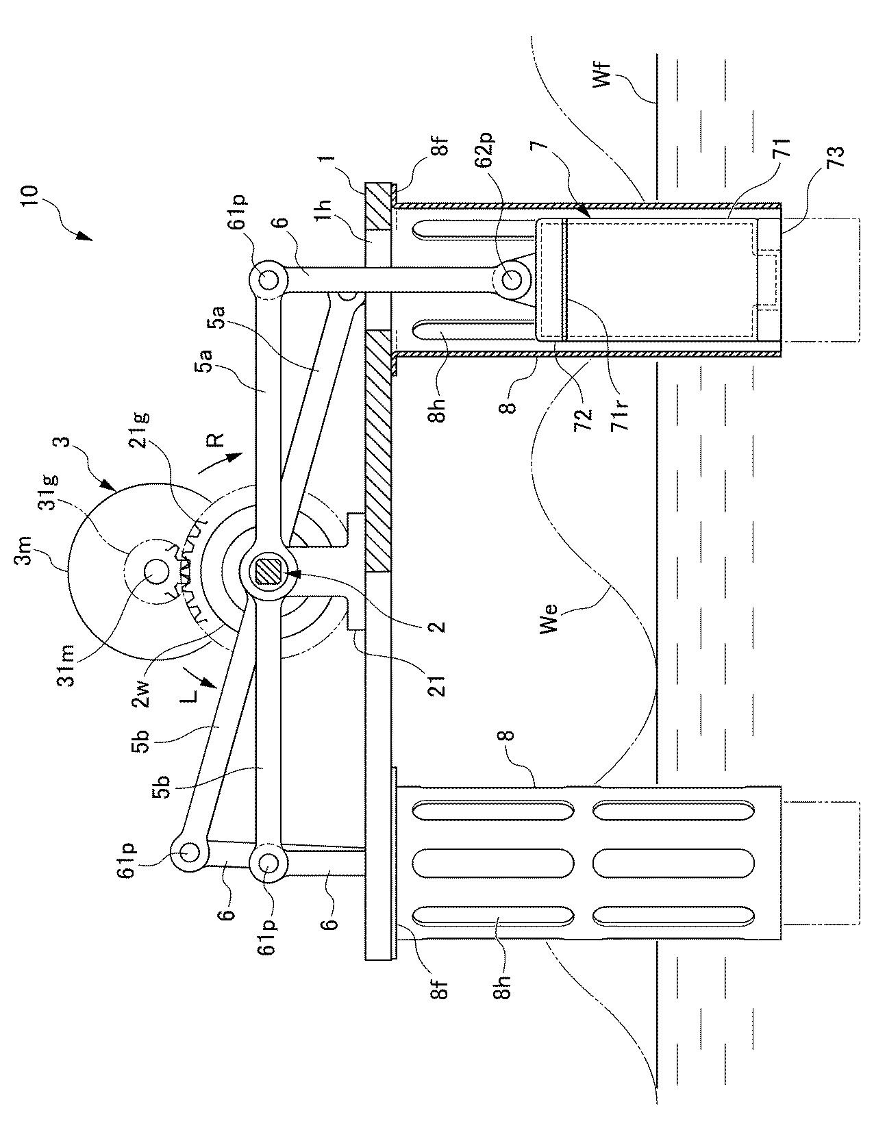
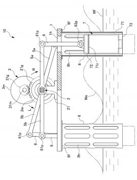
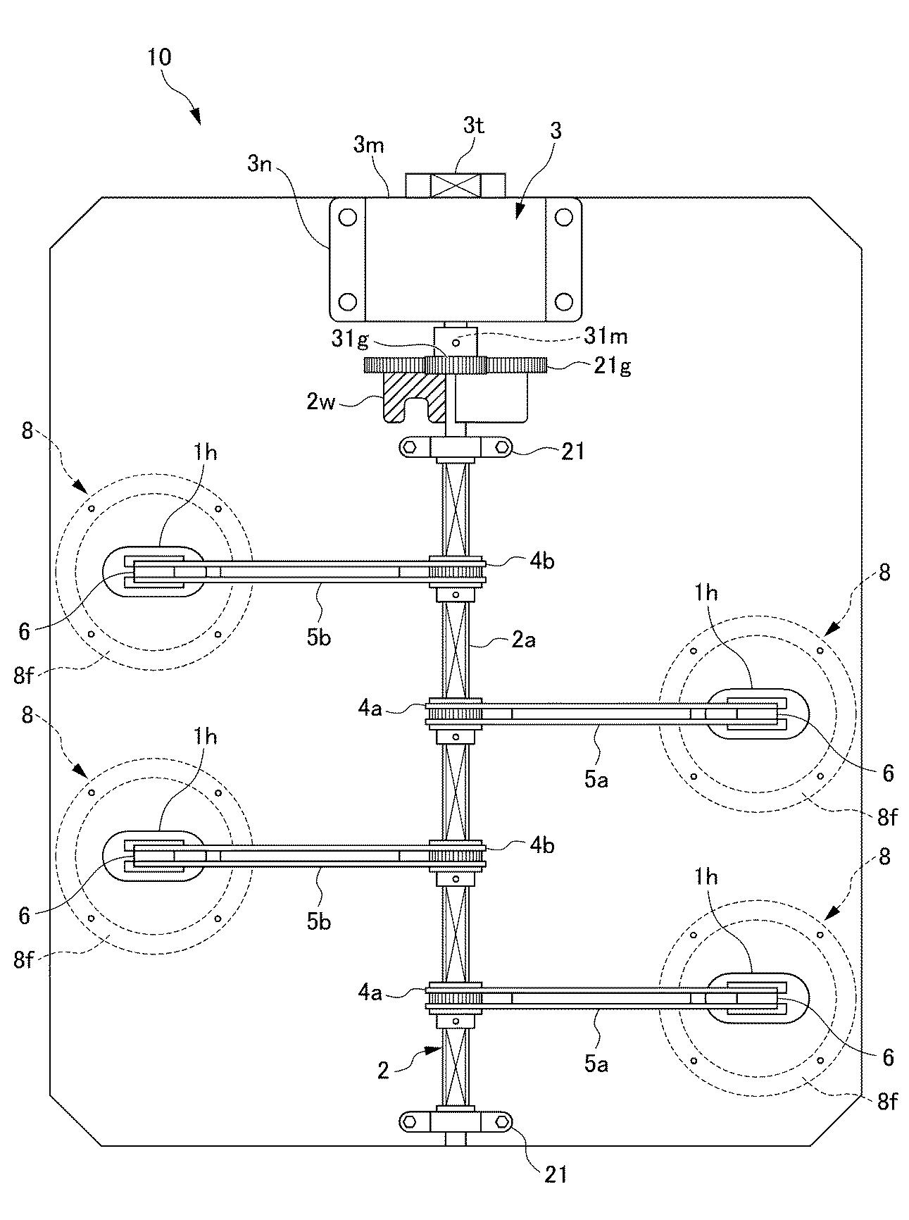
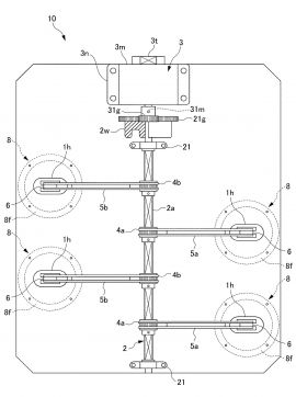
【課題】波エネルギーを有効に活用した波力発電装置を提供する。

【解決手段】波力発電装置10は、基板1、回転軸2、及び発電機3を備える。又、波力発電装置10は、ラチェット装置4a・4bを介して、基端部が回転軸2に連結した一対一組のクランクアーム5a・5bと四つの揺動リンク6を備える。更に、波力発電装置10は、四つの浮力体7及びシリンダ部材8を備える。波Weに起因する浮力体7の振幅が揺動リンク6を介して、クランクアーム5a・5bの揺動運動に変換され、更に回転軸2の回転運動に変換される。そして、この回転運動が発電機3に伝動され、発電できる。浮力体7は、波Weの力で昇降自在及び遊動自在に運動できるように、シリンダ部材8で囲われているので、波エネルギーを有効に活用できる。

【選択図】図1


知財情報・公報などをTokkyo.Aiで確認する。

こちらにも興味があるかもしれません
  • ベストセラー
  • 人気の案件
  • Recently Viewed
車両用警報制御システム
特許第4642688
価格については「出品者にお問い合わせ」をクリックしてご相談ください。
価格については「出品者にお問い合わせ」をクリックしてご相談ください。
緑化屋根工法 メタルグリーンルーフ
特許番号6723408号
価格については「出品者にお問い合わせ」をクリックしてご相談ください。
価格については「出品者にお問い合わせ」をクリックしてご相談ください。
荷役用パレット
日本 特許第6150152号  中国 専利号 ZL 2017 1 0608852.2  香港 専利編号 HK1244765  
価格については「出品者にお問い合わせ」をクリックしてご相談ください。